Дисковые поворотные затворы VFY могут применяться в роли запорно-регулирующих устройств в системах вентиляции, отопления, холодоснабжения, холодного и горячего водоснабжения, кондиционирования и в различных технологических установках.
Отсечение или дросселирование потока рабочей среды происходит с помощью поворота затворного диска. Управление затворами VFY может производиться с помощью рукоятки, электродвигателя или ручного редуктора.
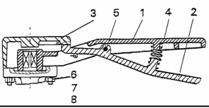
Рукояткой оснащаются дисковые затворы типов VFY-WH и VFY-LH. Рукоятка состоит из двух рычагов, пружины, шпильки и крышки. Габаритные размеры рукояток различаются в зависимости от условного прохода дисковых поворотных затворов. Выпускаются следующие виды рукояток:
| Условный диаметр DN, мм | A, мм | B, мм | С, мм | ||||||||||
| 25 – 100 | 33 | 200 | 78 | ||||||||||
| 125 - 150 | 33 | 290 | 98 | ||||||||||
| 200 - 300 | 42 | 450 | 128 | ||||||||||
Рукоятки предназначаются для установки на поворотные дисковые затворы Danfoss VFY. Помимо рукояти, регулировка этой запорной арматурой может осуществляться редуктором или электроприводом.
Рукоятка может фиксироваться в 10-ти позициях 0…90°, шаг — 10°.
Рукоять, которой оснащаются поворотные дисковые затворы, включает такие основные элементы конструкции, как собственно рукоятку, рычаг и крышку.
Материалом производства этих деталей служит чугун.
Этот сайт использует cookies для улучшения работы. Подробнее в {https://www.buildeng.ru/agreement/politika-obrabotki-personalnykh-dannykh.php}.


