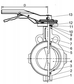
| 13 | Ручка | Ковкий чугун |
| 12 | Стопорное кольцо | Пружинная сталь |
| 11 | Кольцо | Пружинная сталь |
| 10 | Стопорное кольцо | Пружинная сталь |
| 9 | Кольцо | Пружинная сталь |
| 8 |
Самосмазывающаяся прокладка |
Фиброармированный пластик |
| 7 | Корпус | Ковкий чугун GGG50 |
| 6 | Самосмазывающаяся прокладка | Фиброармированный пластик |
| 5 | Прокладка |
Фиброармированный пластик |
| 4 | Диск |
Нерж.сталь CF8M, футерованная РTFE |
| 3 | Седло |
PTFE с подкладкой из FPM (Витон) |
| 2 | Шток | Нерж.сталь SS316 |
| 1 | Корпус | Ковкий чугун GGG50 |
| Поз. | Описание | Материал |
| Ду | A | B | C | L | H | Монтажный фланец ISO | ØG | n-Ød | D | QxQ | Вес (кг) | |||
| мм | дюйм | K | E | N-Ød1 | ||||||||||
| 40 | 1”1/2 | 62 | 130 | 102 | 47 | 32 | 65 | 50 | 4 - 7 | 115 | 4-19 | 180 | 9 | 2,9 |
| 50 | 2" | 62 | 136 | 112 | 47 | 32 | 65 | 50 | 4 - 7 | 125 | 4-19 | 180 | 9 | 2,9 |
| 65 | 2"1/2 | 70 | 138 | 126 | 50 | 32 | 65 | 50 | 4 - 7 | 145 | 4-19 | 180 | 9 | 3,36 |
| 80 | 3" | 78 | 140 | 142 | 50 | 32 | 65 | 50 | 4 - 7 | 160 | 8-19 | 180 | 9 | 3,81 |
| 100 | 4" | 105 | 158 | 168 | 55,5 | 32 | 90 | 70 | 4 - 10 | 180 | 8-19 | 220 | 11 | 5,3 |
Поворотные дисковые затворы Tecofi моделей VP4449/ VP4449R серии ТЕКФЛОН с голой осью предназначены для использования в качестве запорно-регулирующей арматуры в трубопроводных системах химической промышленности (агрессивные среды). Могут управляться приводными устройствами, рычагом или механическим редуктором.
Рассчитаны на рабочее давление перекачиваемой среды от 10 до 16 бар при температуре от -20 до +190 °С. Поворотные дисковые затворы этой серии обеспечивают двухстороннюю герметичность перекрытия. Корпус из 2 частей изготовлен из ковкого чугуна, диск и шток — из нержавеющей стали, кольца стопорные — из пружинной стали, седло — из PTFE с подкладкой из витона. Используется самосмазывающаяся прокладка из фиброармированного пластика.



