Дисковые поворотные затворы SYLAX VFY-WA служат для монтажа в середине трубопровода. Используются для отсечения или регулирования потока рабочей среды в системах отопления, горячего и холодного водоснабжения, а также в системах, в которых осуществляется перекачка гликолевых растворов 50%.
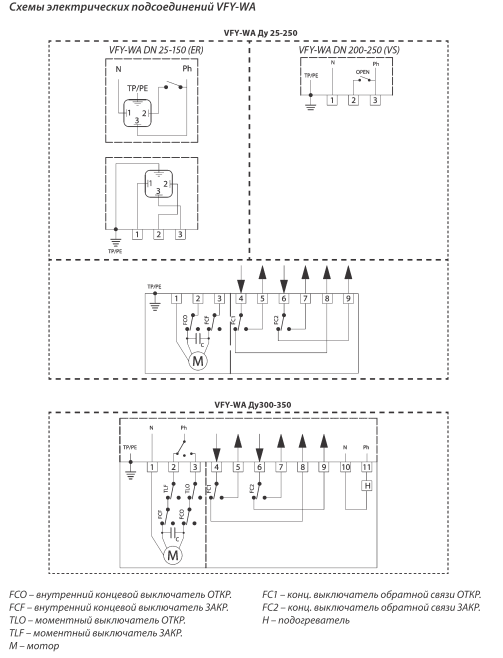
Все элементы затворов данного типа являются взаимозаменяемыми. Легко разборная система облегчает их техническое обслуживание. Управление затвором осуществляется с помощью электропривода AMB-Y 110/230 В.
Затворы VFY-WA имеют следующие характеристики:
Диск затворов является самоцентрирующимся и гарантирует высокую герметичность устройства. Шлицевое соединение диска и штока надежно передает вращательный момент и уменьшает износ. Герметичность по штоку создается двойным уплотнением.
Дисковый затвор VFY с электрическим приводом
Тип VFY-WA — дисковый затвор VFY для установки в середине трубопровода.
Перекачиваемые среды: Вода для систем отопления, ГВС, ХВС, гликолевые растворы до 50%.
Температура :
-10°С …+120 °С – для затворов Ду50-300 с диском GGG40 c полиамидным покрытием
-15°С …+120 °С – для затворов Ду350 с диском GGG40 c полиамидным покрытием
-10°С …+130 °С – для затворов Ду25-300 с диском AISI316
-15°С …+130 °С – для затворов Ду350с диском AISI316
Минимальная температура окружающей среды:
-10°С (для Ду25-300)
-15 °С (для Ду350)
Герметичность затвора: класс А (ГОСТ Р 54808-2011)
Тип корпуса: с центрирующими отверстиями
Материал корпуса:
Ду 25-300 — Серый чугун GG25
Ду 350 — Высокопрочный чугун GGG40
Седловое уплотнение: EPDM
Номенклатура и кодовые номера для оформления заказа
| Эскиз | Ду, мм | Ру, бар |
Присоединительный размер фланцев, соот- ветствующий Ру, бар |
Мощ- ность, Вт |
Ток*, А |
Время по- ворота на 90°, сек |
IP | Кодовый номер | ||||||
| Управление — электропривод AMB-Y (230 В, 50 Гц или 230 В пост. ток). Danfoss | ||||||||||||||
| Диск – высокопрочный чугун GGG40 с полиамидным покрытием | ||||||||||||||
|
50 | 16 | 10/16 | 15 | 0,1 | 12 | 66 | 082G7352 | ||||||
| 65 | 15 | 0,1 | 12 | 66 | 082G7353 | |||||||||
| 80 | 45 | 0,3 | 7 | 66 | 082G7354 | |||||||||
| 100 | 45 | 0,3 | 12 | 66 | 082G7355 | |||||||||
| 125 | 45 | 0,3 | 12 | 66 | 082G7356 | |||||||||
| 150 | 45 | 0,3 | 12 | 66 | 082G7357 | |||||||||
| 200 | 45 | 0,3 | 35 | 67 | 082G7372 | |||||||||
| 250 | 45 | 0,3 | 65 | 67 | 082G7359 | |||||||||
| 300 | 250 | 1,4 | 38 | 67 | 082G7360 | |||||||||
| 350 | 250 | 1,4 | 38 | 67 | 082G7375 | |||||||||
| Диск – нержавеющая сталь AISI316 | ||||||||||||||
| 25 | 10 | 10/16 | 15 | 0,1 | 12 | 66 | 082G7350 | |||||||
| 32/40 | 16 | 15 | 0,1 | 12 | 66 | 082G7351 | ||||||||
| 50 | 15 | 0,1 | 12 | 66 | 082G7400 | |||||||||
| 65 | 15 | 0,1 | 12 | 66 | 082G7401 | |||||||||
| 80 | 45 | 0,3 | 7 | 66 | 082G7402 | |||||||||
| 100 | 45 | 0,3 | 12 | 66 | 082G7403 | |||||||||
| 125 | 45 | 0,3 | 12 | 66 | 082G7404 | |||||||||
| 150 | 45 | 0,3 | 12 | 66 | 082G7405 | |||||||||
| 200 | 45 | 0,3 | 35 | 67 | 082G7410 | |||||||||
| 250 | 45 | 0,3 | 65 | 67 | 082G7411 | |||||||||
| 300 | 250 | 1,4 | 38 | 67 | 082G7408 | |||||||||
| 350 | 250 | 1,4 | 38 | 67 | 082G7409 | |||||||||
Поворотные дисковые затворы Danfoss VFY-WA могут устанавливаться в середине трубопровода, они разработаны под такие системы, как отопительные, охладительные, водопроводные, вентиляционные сети.
Поворотные дисковые затворы управляются электроприводом AMB-Y 110/230 В с рабочим режимом открыто/закрыто. Монтаж осуществляется посредством межфланцевых соединений.
Шток и диск имеют шлицевое соединение, что обеспечивает большой ресурс работы. Устройство разбирается без затруднений, детали взаимозаменяемы, благодаря чему затворы легко обслуживать.
Материалом исполнения корпуса служит серый или высокопрочный чугун, последний служит также для изготовления диска. Уплотнение — из EPDM.
Рабочая температура — +120 °С.
Условное давление — 10/16 бар.

